• 香蕉AV在线播放,香蕉网在线视频,色香蕉在线观看,香蕉视频在线观看APP

    NEWS香蕉视频在线观看APP分类

    PRODUCT色香蕉在线观看分类

    CONTACT US联系香蕉AV在线播放

    内蒙古香蕉AV在线播放新材料科技有限公司

    姜经理:18547203964

    电话:0472-5213743

    网址:www.tohogarou.com

    邮箱:nmshx2012@163.com

    地址:包头市九原区麻池镇东壕口村(南绕城公路29公里处)


    电解铝用新型结构型节能香蕉网在线视频的应用实践

    电解铝用新型结构型节能香蕉网在线视频的应用实践

    发布日期:2016-08-13 00:00 来源:http://www.tohogarou.com 点击:

    内蒙古香蕉AV在线播放新材料科技有限公司

     

    [摘要]香蕉网在线视频是铝电解生产中预焙阳极的重要构件,主要作用是连接阳极炭块,并向电解槽传输电流。其自身导电性能的优劣和使用寿命周期很大程度上影响电解铝生产的电耗和经济效益。目前,香蕉网在线视频普遍以废钢作为原料、采用消失模铸造进行生产,导致材质不稳定,电阻率高、抗氧化性差等缺陷。新型结构型节能香蕉网在线视频的材质采用低碳钢:钢爪横梁使用热轧厚板,按照钢爪横梁尺寸进行切割,钢爪腿材料选择轧制圆棒,采用特种熔焊工艺将钢爪腿与钢爪横梁进行熔焊,实现全截面的冶金结合。通过在国内几家电解铝企业的应用,新型结构型节能香蕉网在线视频与传统铸造钢爪相比,导电性和抗氧化性都有一定程度的提高,可以更好的满足电解生产的要求。

     

    [关键词]香蕉网在线视频,特种熔焊工艺,全截面冶金结合

     

    Application and practice of the structural energy-saving anode steel stub

    Wang Ri xin

    Institude of Applied Physics,Jiang Xi Academy of Science,nanchang 330029,china ;

     

    abstract]Anode Steel Stub is a key part of pre-baked anode in primary aluminum production linking carbon anode and transmit power to potcells. Performance and duration of anode steel stub itself willbe related definitely to power consumption and financial benefit of primary aluminum production.At present,scrap is the main raw material for EPC casting.Some defects of casting steel stubs have been found due to restriction of EPC casting process, such as instability of material, high resistance and poor oxidation resistance etc. Materials of Beam and column of the structural energy-saving steel stub are mild steel; beam are made of hot rolling thick plate to be cut into stub beam according to current beam dimension of casting steel stub, material of column of steel stub is rolling profile to be made of all section metallurgical combination with its beam by special fusion welding.Compared to the casting steel stub,the conductivity and oxidation resistance of the structural energy-saving anode steel stub have improved to a certainextent. Theproduction requirement of the aluminum electrolyzation can be fully met.

     

    keywords]anode steel stub,special fusion welding,all section metallurgical combination

     

     

    电解铝香蕉网在线视频是电解铝设备上阳极炭块与大母线之间的连接组件,在铝电解过程中承载着大功率的电流,是电解铝生产企业的最主要消耗件之一,钢爪质量的好坏直接影响到电解铝企业的生产效率、生产成本和生产的稳定性。其制作要求组织致密、无铸造缺陷,化学成分均匀准确。传统的铸造方法制作香蕉网在线视频工艺步骤繁锁,容易引起钢水的二次氧化,纯净度得不到保证,而且烧损元素成分的可控性较差。很难达到电解铝香蕉网在线视频电阻率低,导电性能好的制作要求。因此通过改进香蕉网在线视频的制造工艺来提高其使用性能,对降低电解铝的生产成本有着重要意义。

    1、传统铸造钢爪存在的主要问题

    长期以来国内电解铝香蕉网在线视频普遍采用中频炉炼钢+消失模铸造的方法进行生产,该技术主要存在以下缺陷:

    (1)由于中频炉炼钢对于材料成分的控制不严,使新铸钢爪中S、P、C、Mn、Cr等影响材料导电性的元素普遍超标严重,从而导致铸造香蕉网在线视频导电性能降低。

    (2)消失模铸造过程中排气工艺的不稳定性,使得铸造香蕉网在线视频中存在夹杂、气孔等铸造缺陷,也会影响钢爪的导电性和强度。

    (3)普通铸造钢爪一般不进行变质处理和正火处理,得到的铸态组织普遍晶粒粗大,使其力学性能大大降低,加剧了铸造香蕉网在线视频在热状态下的形变内弯现象的发生,甚至从钢爪横梁处断裂造成早期破损;

    (4)变形导致修复难度增加,成本提高;

    (5)铸钢生产会产生S、P等有害元素超标的废气排放,造成环境污染。

    2、电解铝用新型结构型节能香蕉网在线视频

    2.1技术特点

    为了解决上述问题,江西省科学院应用物理研究所、内蒙古香蕉AV在线播放新材料科技有限公司、内蒙古科技大学共同开发出电解铝新型结构型节能香蕉网在线视频,使用材质稳定、导电性能和力学性能较好的轧钢为原料,避免了铸造缺陷的产生;通过电渣熔焊工艺,对钢爪横梁与钢爪腿进行全截面焊接,整个生产过程中无污染,实现了香蕉网在线视频的“绿色”制造,采用该技术,生产效率高、焊接质量稳定,由于焊接截面为全截面,导电性和使用寿命大大超过了人工焊接钢爪。可有效的实现物理降耗,降低钢爪的备用数量,减少资金占用。

    2.1 技术原理

    1)钢爪化学成分

    根据材料性能指标要求,立足解决铸钢材料缺陷问题,确定钢爪横梁和钢爪腿的材料选型按照表1的参数控制,结合内蒙古包头地区的地域优势,地区内钢铁冶炼企业选用的铁矿石中普遍伴生有稀土元素。而稀土对抑制钢材热变形有很好的效果,可以在一定程度上抑制钢爪的形变。

    1:新型结构型节能香蕉网在线视频材质表

    Table 1 Element of the structural energy-saving anode steel stub

    元素

    C

    Si

    Mg

    S

    P

    稀土元素

    成分(%)

    ≤0.25

    ≤0.07

    0.28-0.45

    ≤0.04

    ≤0.03

    ≤0.012

     

    香蕉网在线视频经过铸造工序,不可避免的会产生夹渣、气孔、缩松等铸造缺陷,减少其有效截面,影响钢爪的导电性能。香蕉AV在线播放使用Wheatstone-Thomson电桥,取普通铸造钢爪和新型结构型节能钢爪横梁相同位置上的一段材料进行室温(20℃)体积电阻率对比测试,试样规格为:170mm×10mm×2mm,检测方法采用GB/T351-1995金属材料电阻系数测量方法,测试结果如表2所示。

    2:20℃电阻率对比表

    Table 2 Value of resistivity contrast at 20

    试样

    室温电阻率(uΩ·m)

    新型结构型节能钢爪材料

    0.215

    普通铸造钢爪材料

    0.228

     

    室温条件下,电阻率相对降低率为6%,而香蕉网在线视频的工作温度较高,图1为香蕉网在线视频工作状态下的热成像图。图中的三个测试点的温度分别为396.6℃、613.7℃、640℃,取平均值550.1℃,材料电阻率随温度的上升而提高,以国内应用较为普遍的400KA电解槽为例,通过每个钢爪的平均电流达到了8333A。因此电阻率的变化会直接影响到香蕉网在线视频的电压降。



    图1:香蕉网在线视频热成像图.jpg

    1:香蕉网在线视频热成像图


    Fig.1 Thermal image of the anode steel stub

    2)焊接工艺原理

    香蕉网在线视频的焊接截面较大,因此在焊接过程中要在焊接面上持续提供极高的热量,且要求普通的焊接工艺很难实现对其的全截面熔焊。电渣熔焊是电渣冶金的分支之一。如图2所示,电渣熔焊是利用电流通过熔渣时产生的电阻热作为热源进行熔焊的方法。其主要工艺过程是在铜质水冷结晶器、底水箱和两个焊接面所组成的区域内加入固态或液态熔渣,将自耗电极的端部插入其中,当自耗电极、熔渣和底水箱通过短网与变压器形成供电回路时,便有电流从变压器输出,通过液态熔渣。由于上述供电回路中,熔渣的电阻相对较大,占据了变压器二次压降的大部分压降,从而在渣池中产生了大量的焦耳热,使其处于高温熔融状态。由于渣池的温度远大于金属的熔点,从而使自耗电极的端部的金属逐渐加热熔化,熔化的金属聚集成液滴,在重力的作用下,金属液滴从自耗电极的端头脱落,穿过渣池进入金属熔池。与此同时两个焊接表面的金属也逐渐熔化,并在水冷结晶器的强制冷却作用下,材质相同的两部分液态金属逐渐凝固,形成焊接区域。熔焊过程中,一方面,须焊接工件的两端也是作为结晶器的一部分直接与熔渣接触两侧的水冷结晶器壁强制冷却,熔焊面与水冷结晶器接触的表面会形成一层渣壳;另一方面,待焊接工件的两端是作为结晶器的一部分直接与熔渣接触,由于其冷却能力较弱,熔渣不会凝固,而始终处于熔池上方,由熔池的熔合线像结晶器焊缝宽延伸,不会在熔焊区域形成夹层。在正常熔焊期间,电流从电极进入渣池后,要通过金属熔池和凝固钢锭再由底水箱和短网返回变压器。由于电渣冶金的特点,金属与熔渣之间要发生一系列的物理化学反应,从而可以去除金属中的有害杂质元素和非金属夹杂物。熔焊区域内的金属从下而上逐渐凝固,金属熔池和渣池就不断向上移动,上升的渣池使结晶器内壁和钢锭之间形成一层渣壳,它不仅使熔焊区域的表面平洁光滑,而且降低了径向导热,有利于自下而上的顺序结晶,改善了熔焊区域内部的结晶组织,最终实现全截面冶金结合的目的。

     


    1471078674765223.jpg

    2:电渣熔焊原理示意图1-钢爪腿;2-钢爪横梁;3-底水箱;

    4-变压器;5-自耗电极;6-渣池;7-金属熔池;8-熔焊区域

    Fig.3 Scheme of the Electroslag welding

    3、新型钢爪性能测试

    3.1冷态试验


        如图
    3所示,170mm新型节能钢爪与普通铸造钢爪各10组,使用铁碳压降仪对每个钢爪腿的导电性能进行对比测试,测试电流为400A,持续时间10S,测试时气温-5℃。


    1471078841254506.jpg


    3:冷态测试示意图

     

    由表3中数据可见,新型节能香蕉网在线视频其导电性能要明显优于普通铸造钢爪,导电性能提升约为17%,主要原因体现在两个方面:材料本身的电阻率明显下降;焊接效果好,完全实现了全截面熔焊。



     表3 电渣熔焊钢爪与普通铸造钢爪导电性能

    Table 3 Value of the electrical conductivity of the Electroslag welding and casting steel stub

    序号

    电渣熔焊钢爪(mv)

    序号

    铸钢钢爪(mv)

    序号

    电渣熔焊钢爪(mv)

    序号

    铸钢钢爪(mv)

    A1-1

    1.04

    B1-1

    1.15

    A6-1

    1.11

    B6-1

    1.15

    A1-2

    1.08

    B1-2

    1.27

    A6-2

    0.99

    B6-2

    1.20

    A1-3

    1.05

    B1-3

    1.21

    A6-3

    0.92

    B6-3

    1.10

    A1-4

    1.08

    B1-4

    1.00

    A6-4

    1.06

    B6-4

    1.26

    A2-1

    1.18

    B2-1

    1.20

    A7-1

    1.16

    B7-1

    1.34

    A2-2

    1.07

    B2-2

    1.26

    A7-2

    1.12

    B7-2

    1.38

    A2-3

    1.04

    B2-3

    1.21

    A7-3

    1.12

    B7-3

    1.24

    A2-4

    1.09

    B2-4

    1.43

    A7-4

    1.12

    B7-4

    1.34

    A3-1

    1.11

    B3-1

    1.38

    A8-1

    1.11

    B8-1

    1.50

    A3-2

    1.07

    B3-2

    1.25

    A8-2

    1.08

    B8-2

    1.18

    A3-3

    1.01

    B3-3

    1.24

    A8-3

    1.02

    B8-3

    1.02

    A3-4

    1.08

    B3-4

    1.50

    A8-4

    1.12

    B8-4

    1.10

    A4-1

    0.99

    B4-1

    1.23

    A9-1

    0.95

    B9-1

    1.30

    A4-2

    1.03

    B4-2

    1.06

    A9-2

    1.01

    B9-2

    1.31

    A4-3

    0.98

    B4-3

    1.21

    A9-3

    1.02

    B9-3

    1.32

    A4-4

    1.07

    B4-4

    1.12

    A9-4

    1.09

    B9-4

    1.34

    A5-1

    1.07

    B5-1

    1.24

    A10-1

    0.95

    B10-1

    1.20

    A5-2

    1.10

    B5-2

    1.30

    A10-2

    1.10

    B10-2

    1.19

    A5-3

    1.12

    B5-3

    1.26

    A10-3

    1.12

    B10-3

    1.14

    A5-4

    1.10

    B5-4

    1.45

    A10-4

    1.12

    B10-4

    1.37

    均值

    1.068


    1.2485


    1.0645


    1.249

     

    3.2在线测试

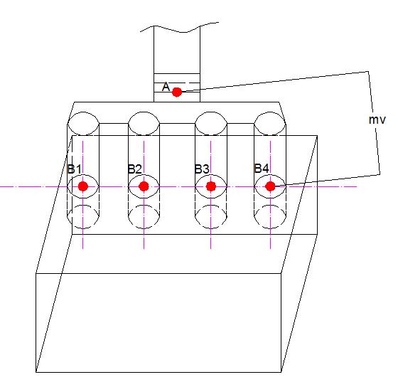
    在某电解铝厂,选择两台运行状态相同的电解槽进行测试,其中一台电解槽的48组阳极全部换为新型节能香蕉网在线视频,并稳定运行3天。测试方法如图4所示,点A在爆炸焊块与香蕉网在线视频的焊接面下部,点B为磷铁浇铸上部的20mm处,对A-B3和A-B4的压降进行测试并记录在表4。

    1471079487844841.jpg

    3:在线测试示意图

    4 电渣熔焊钢爪与普通铸造钢爪槽上测试数据

    新型节能钢爪

    普通铸造钢爪

    极号

    电流分布(mv)

    钢爪压降(mv)

    平均压降(mv)

    极号

    电流分布(mv)

    钢爪压降(mv)

    平均压降(mv)

    A-B4

    A-B3

    A-B4

    A-B3

    A1

    1.9

    42.6

    19.8

    31.20

    A1

    2.3

    47.7

    44.5

    46.10

    A2

    2.1

    42.6

    20.6

    31.60

    A2

    2.3

    44.2

    41.2

    42.70

    A3

    2.2

    41.5

    17.8

    29.65

    A3

    1.2

    61.0

    24.4

    42.70

    A4

    2.1

    40.9

    19.6

    30.25

    A4

    2.3

    74.0

    18.3

    46.15

    A5

    2.4

    44.0

    19.6

    31.80

    A5

    1.9

    70.6

    52.5

    62.05

    A6

    2.5

    48.1

    23.1

    35.60

    A6

    2.2

    51.5

    23.0

    37.25

    A7

    1.8

    38.2

    24.6

    31.40

    A7

    1.2

    38.2

    17.9

    28.05

    A8

    2.1

    41.8

    12.7

    27.25

    A8

    1.4

    54.0

    33.7

    43.85

    A9

    2.1

    53.4

    15.9

    34.65

    A9

    1.2

    62.0

    28.5

    45.25

    A10

    2.0

    30.7

    26.6

    28.65

    A10

    2.0

    53.7

    31.9

    42.80

    A11

    3.3

    52.2

    21.7

    36.95

    A11

    2.0

    39.7

    68.0

    53.85

    A12

    2.6

    52.6

    25.5

    39.05

    A12

    1.9

    62.6

    27.5

    45.05

    A13

    2.4

    54.5

    11.3

    32.90

    A13

    1.4

    45.9

    38.0

    41.95

    A14

    2.8

    59.4

    34.2

    46.30

    A14

    2.3

    52.0

    28.8

    40.40

    A15

    3.1

    42.5

    22.7

    32.60

    A15

    2.3

    74.6

    44.3

    59.45

    A16

    2.5

    36.7

    19.1

    27.90

    A16

    1.9

    35.7

    26.6

    31.15

    A18

    2.5

    40.2

    20.6

    30.40

    A18

    1.4

    41.5

    52.6

    47.05

    A19

    2.5

    51.0

    37.3

    44.10

    A19

    2.0

    46.4

    35.4

    40.90

    B8

    2.2

    41.9

    19.5

    30.70

    B8

    2.0

    69.6

    30.0

    49.80

    B9

    2.5

    22.4

    33.2

    27.80

    B9

    2.0

    58.5

    40.0

    49.50

    B10

    2.1

    43.5

    19.3

    31.40

    B10

    1.6

    66.5

    14.0

    40.25

    B16

    1.4

    28.6

    12.6

    20.60

    B16

    1.2

    46.5

    23.0

    34.75

    B17

    2.3

    59.6

    18.0

    38.30

    B17

    1.7

    48.0

    45.5

    46.75

    B18

    2.1

    60.0

    30.8

    45.40

    B18

    2.0

    44.3

    42.2

    43.25

    B19

    2.8

    49.1

    22.4

    35.75

    B19

    2.1

    55.4

    52.3

    53.85

    B23

    2.2

    47.5

    28.5

    38.00

    B23

    1.7

    50.6

    26.4

    39.50

    B24

    2.5

    50.3

    22.7

    36.50

    B24

    2.0

    56.7

    48.8

    52.75

    均值




    33.40





    43.25

     

    由表4中数据可见,新型节能香蕉网在线视频运行状态下的压降要明显低于普通铸造钢爪,压降降低约为23%,与冷态试验的测试数据相对应。

    3.3抗氧化性测试

    5 普通铸造钢爪氧化程度

    序号

    循环次数

    钢爪头直径(mm)

    平均氧化程度(mm)

    每周期氧化程度(mm)

    1#

    2#

    3#

    4#

    1

    16

    107

    115

    118

    113

    26.8

    1.7

    2

    8

    133

    128

    128

    133

    9.5

    1.2

    3

    7

    134

    133

    132

    134

    6.8

    1.0

    4

    4

    134

    134

    134

    134

    6.0

    1.5

    5

    7

    133

    134

    134

    133

    6.5

    0.9

    6

    8

    135

    132

    134

    133

    6.5

    0.8

    7

    4

    136

    135

    135

    135

    4.8

    1.2

    8

    12

    134

    133

    133

    133

    6.8

    0.6

    9

    7

    135

    134

    134

    133

    6.0

    0.9

    10

    4

    134

    136

    134

    135

    5.3

    1.3

    11

    11

    132

    133

    132

    132

    7.8

    0.7

    12

    8

    135

    128

    128

    131

    9.5

    1.2

    13

    7

    134

    134

    135

    133

    6.0

    0.9

    14

    7

    134

    135

    135

    134

    5.5

    0.8

    15

    12

    134

    130

    130

    130

    9.0

    0.8

    16

    12

    125

    132

    130

    130

    10.8

    0.9

    17

    9

    135

    134

    135

    133

    5.8

    0.6

    18

    8

    136

    137

    138

    135

    3.5

    0.4

    19

    9

    134

    134

    133

    133

    6.5

    0.7

    20

    7

    132

    134

    133

    132

    7.3

    1.0

    21

    7

    133

    133

    134

    134

    6.5

    0.9

    22

    11

    134

    133

    132

    132

    7.3

    0.7

    23

    11

    132

    130

    132

    131

    8.8

    0.8

    24

    7

    130

    135

    133

    133

    7.3

    1.0

    25

    11

    132

    132

    131

    132

    8.3

    0.8

    26

    7

    132

    133

    134

    132

    7.3

    1.0

    27

    8

    135

    134

    135

    133

    5.8

    0.7

    28

    4

    137

    136

    137

    138

    3.0

    0.8

    29

    12

    128

    132

    131

    130

    9.8

    0.8

    30

    8

    135

    130

    130

    132

    8.3

    1.0


    253

    3974

    3973

    3974

    3966

    228.25

    27.52

    均值

    8

    132

    132

    132

    132

    7.61

    0.92

     

     

     

    6 新型节能钢爪氧化程度

    序号

    循环次数

    钢爪头直径(mm)

    平均氧化程度

    (mm)

    每周期氧化程度(mm)

    1#

    2#

    3#

    4#

    1

    7

    138

    138

    138

    138

    2.0

    0.3

    2

    7

    135

    135

    135

    132

    5.8

    0.8

    3

    7

    132

    136

    135

    132

    6.3

    0.9

    4

    7

    137

    138

    138

    138

    2.3

    0.3

    5

    7

    137

    135

    136

    137

    3.8

    0.5

    6

    7

    134

    136

    137

    133

    5.0

    0.7

    7

    7

    138

    137

    137

    133

    3.8

    0.5

    8

    7

    137

    137

    137

    135

    3.5

    0.5

    9

    7

    138

    137

    138

    137

    2.5

    0.4

    10

    7

    134

    135

    134

    133

    6.0

    0.9

    11

    7

    133

    135

    134

    134

    6.0

    0.9

    12

    7

    136

    137

    136

    135

    4.0

    0.6

    13

    7

    136

    132

    134

    134

    6.0

    0.9

    14

    7

    134

    136

    136

    135

    4.8

    0.7

    15

    7

    136

    137

    136

    135

    4.0

    0.6

    16

    7

    135

    136

    136

    135

    4.5

    0.6

    17

    7

    137

    138

    137

    136

    3.0

    0.4

    18

    7

    134

    135

    136

    135

    5.0

    0.7


    126

    2441

    2450

    2450

    2427

    78.00

    11.14

    均值

    7

    136

    136

    136

    135

    4.33

    0.62

     

    将表5与表6中的数据进行对比,新型节能香蕉网在线视频的抗氧化性与传统铸造钢爪的抗氧化性相比有了明显的提升,主要原因是新型节能钢爪使用的轧制材料的表面光洁度、材料致密度都由于铸钢材料,因此其在槽上的氧化速度降低,使用寿命延长。
       4.结论

    1、 新型节能香蕉网在线视频,由于主体结构采用延展性、均质度均优于铸钢的热轧钢材料制造,故其力学性能,如屈服强度、弹性模量都要优于传统铸造钢爪。

    2、新型节能香蕉网在线视频使用的热轧材料的致密度高,抗氧化、抗腐蚀性优于铸钢,使用寿命长。

    3、新型节能香蕉网在线视频导电性能好,材质均一稳定,钢爪横梁与钢爪腿的连接均为100%全截面焊接而成,克服了普通浇铸钢爪所存在的夹渣、砂眼、气孔等缺陷。

    4、经过几个周期的使用证明新型节能香蕉网在线视频在电解槽上的使用性能稳定、质量可靠、可为电解铝企业在节能降耗方面带来明显的经济效益,企业节能增效的有效选择。

    参考文献: 

    [1]王从曾.提高香蕉网在线视频导电性能的途经[J]. 轻金属,2002,(10):37-39.

    [2]田莳.材料物理性能[M]. 航空航天大学出版社,2001.8

    [3]张天华.香蕉网在线视频组换爪材料选择和重焊工艺要求的建议[J]. 民营科技,2013,(7):19

    [4]杜智勇.消失模铸造工艺在香蕉网在线视频铸造中的应用[J].轻金属,2005,(11):42-44.

    [5]刘业翔,李劼.现代电解铝[M].北京:冶金工业出版社,2008:2-10.

    [6]李东,谢刚,姚云,于站良,李荣兴,彭如振. 铝工业香蕉网在线视频腐蚀机理及其防腐[J]. 轻金属,2014,02:34-40.

    [7]张振国. 电渣熔铸-熔焊法生产大直径内燃机曲轴的工艺研究[J]. 铸造技术,2005,8(3):735-738.

    [8]王日昕,饶泽世. 电解铝香蕉网在线视频修复新技术的应用实践[J]. 轻金属,2014,9(4):53-57.

     


    相关标签:香蕉网在线视频

    最近浏览:

    在线客服
    二维码

    扫描二维码

    分享
    欢迎给香蕉AV在线播放留言
    请在此输入留言内容,香蕉AV在线播放会尽快与您联系。
    姓名
    联系人
    电话
    座机/手机号码
    网站地图